
GM está observando o peso
A General Motors registrou um pedido de patente para um sistema de detecção projetado para identificar carregamentos inadequados. O sistema usaria componentes adicionais, como câmeras, para alertar os motoristas sobre sobrecarga ou desequilíbrio, ao mesmo tempo que sugeriria formas de corrigi-lo.
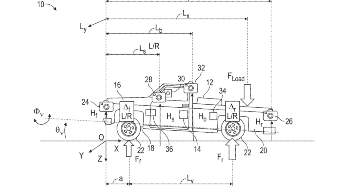
Registrado no Escritório de Marcas e Patentes dos Estados Unidos sob o número de patente US 2026/0091799 A1 e publicado em 2 de abril de 2026, o sistema de detecção de carga visa melhorar a segurança, pois o carregamento inadequado do veículo pode afetar a estabilidade e tornar a condução mais difícil e perigosa, aumentando o risco de perda de controle ou mesmo capotamento, especialmente em veículos altos. Também poderia ajudar a prevenir problemas estruturais, como desgaste irregular dos pneus e danos na suspensão, que podem custar mais aos proprietários em reparos.
USPTO
Compreendendo a mecânica
Os dados seriam coletados por meio de diversas câmeras montadas no exterior do veículo, que analisariam a compressão da suspensão para estimar se o veículo está carregando muito peso e onde esse peso está concentrado. O sistema também poderia usar outros sensores para monitorar fatores como a velocidade do veículo para leituras mais precisas, especialmente porque o terreno irregular pode tornar as medições mais complicadas.
O sistema poderia fornecer sugestões sobre como reposicionar a carga ou quanto peso remover.
Embora esta tecnologia pudesse, em teoria, melhorar a segurança e reduzir os custos de reparação, também provavelmente aumentaria os MSRPs dos veículos devido aos componentes adicionados. Isto é importante porque o mercado dos EUA já necessita de veículos mais acessíveis, com o preço médio dos automóveis novos a ter ultrapassou US$ 50.000 no final do ano passado. Além disso, se esses componentes falharem, poderão tornar-se mais uma despesa de reparação para os proprietários.
O problema com patentes
Mas, novamente, isto ainda é apenas uma patente, o que significa que não há garantia de que a General Motors a colocará em produção. As montadoras às vezes registram patentes simplesmente para impedir que os concorrentes utilizem tecnologia semelhante. Se tal sistema de detecção acabaria por melhorar a propriedade ou torná-la mais complicada, permanece em debate.
A General Motors oferece vários modelos de caminhões em suas duas marcas, Chevrolet e GMC. Se esta patente chegasse à produção, provavelmente seria mais útil para a linha de serviços pesados da empresa, que inclui o Silverado HD e Serra HD. Ambas as placas de identificação também estão disponíveis com versões totalmente elétricas.
Chevrolet
Veja as 3 imagens desta galeria no
artigo original





