Geely Starray EM-i quebra o recorde mundial do Guinness em um dos passeios mais bonitos da Austrália
PATROCINADO Não é todo dia que você assiste a um Recorde Mundial do Guinness se desenrolar bem na sua frente. Mas é exatamente isso que aconteceu na última sexta-feira em Melbourneonde a Geely re...
Lembre-se do Audi 90 quattro IMSA GTO? Pois bem, alguns aprendizes da Audi (14 deles, para ser exato) querem ter certeza de que você não esquecerá com isso o conceito GT50. O carro e seu nome celeb...
Boas notícias! Na verdade, nesta época do ano, ‘ouvir’ parece mais adequado, porque episódio de hoje de The Gassing Station começa com a notícia de que mais um EV pode estar recebendo tratame...
O BMW Série 3 está comemorando seu 50º aniversário, com mais de 18 milhões de veículos saindo da linha de produção durante esse período. Começando a vida em Munique em 1975 como um cupê de ...
As chances de incêndios em veículos elétricos são baixas, mas não zero Estatisticamente, Incêndios em veículos elétricos são uma ocorrência rara em comparação com incêndios em veículos h...
Mesmo pelos elevados padrões de tolice que caracterizaram os carros-chefe da Audi durante os anos 2000, o Q7 V12 TDI realmente era algo muito especial. Um V10 RS6 biturbo poderia muito bem ter sido u...
A Volkswagen detalhou seu primeiro Polo elétrico, antes de sua estreia europeia em 2026. O ID Volkswagen. Póloque ainda não foi confirmado para a Austrália, será oferecido com uma variedade de po...
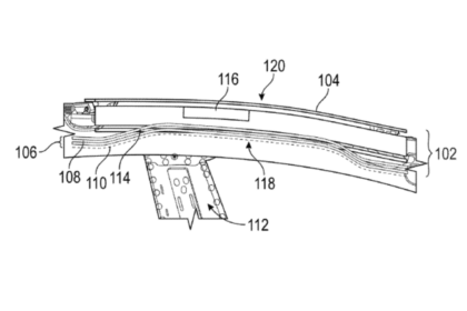
Tesla olha para os céus Um recente Tesla patente explora o uso de materiais transparentes de radiofrequência (RF) nos tetos de seus veículos elétricos, sugerindo a possível integração futura da...
A Smart terá que se contentar com dois modelos por mais algum tempo na Austrália, com seu próximo SUV carro-chefe enfrentando um atraso de cerca de 12 meses. Quando o Tesla Modelo Y-rivalizando Int...









