Home / Auto e Moto / Tesla encontra uma maneira de integrar Starlink em seus EVs para conexão fora da rede

Tesla encontra uma maneira de integrar Starlink em seus EVs para conexão fora da rede

Tesla olha para os céus

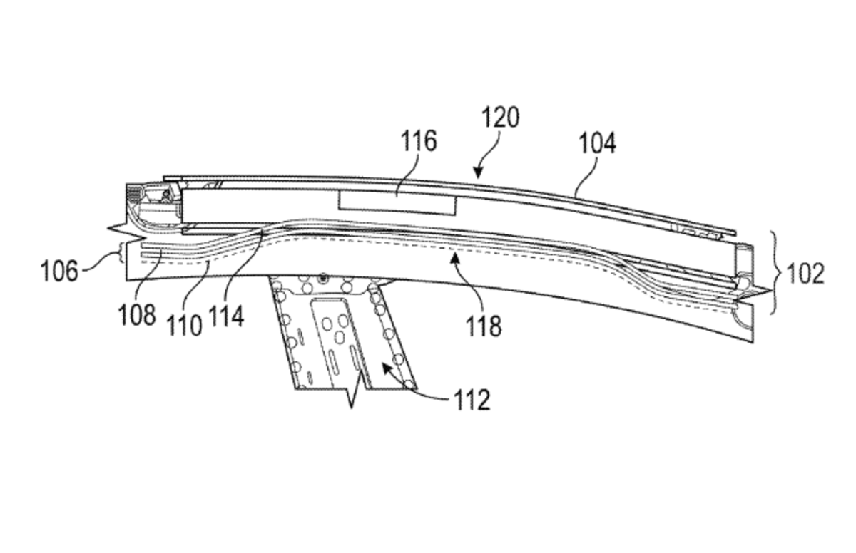
Um recente Tesla patente explora o uso de materiais transparentes de radiofrequência (RF) nos tetos de seus veículos elétricos, sugerindo a possível integração futura da conectividade Starlink. No entanto, a implementação de tal sistema não seria tão simples como parece, uma vez que estes materiais alternativos poderiam levantar desafios estruturais e de conformidade.

A patente (Pub. Nº EUA 2025/0368267) faz referência a materiais como policarbonato, acrilonitrila butadieno estireno e acrilonitrila estireno acrilato, que, comparados com materiais tradicionais como metal e vidro, podem apresentar diferentes características de resistência. A Tesla supostamente planeja mitigar essas preocupações usando uma construção multicamadas, potencialmente consistindo em quatro camadas, o que poderia ajudar a restaurar a rigidez e, ao mesmo tempo, melhorar o desempenho de ruído, vibração e aspereza (NVH).

“Ao empregar misturas de polímeros, alguns exemplos permitem a transmissão de RF de todos os módulos para satélites e outros dispositivos de comunicação, tanto dentro como fora do veículo”, escreveu Tesla no pedido de patente.

Escritório de Patentes e Marcas Registradas dos Estados Unidos

Um ecossistema tecnológico mais amplo

Dada a conexão da Starlink com a SpaceX – um foguete e empresa de satélite também liderada pelo CEO da Tesla, Elon Musk – o uso de painéis de telhado transparentes à base de polímeros e RF poderia fortalecer ainda mais o ecossistema tecnológico mais amplo liderado por Musk. Em teoria, tal projeto poderia permitir que os veículos Tesla, incluindo modelos de mercado de massa como o Modelo 3 e Modelo Ypara manter a conectividade via satélite mesmo em áreas remotas onde a cobertura celular é geralmente limitada.

Atualmente, a Tesla oferece Conectividade Padrão, que inclui navegação e funções básicas do veículo, com muitos recursos disponíveis via Wi-Fi. A empresa também oferece Conectividade Premium, disponível como opção de US$ 9,99/mês nos EUA, que permite recursos como visualização de tráfego ao vivo e serviços de streaming em redes celulares.

Teslarati

Repensando a integração de satélites

Embora a maioria dos fabricantes de automóveis que buscam conectividade de veículos baseada em satélite dependam de parcerias com fornecedores terceirizados, a integração do Starlink pela Tesla diretamente em seus EVs representaria uma abordagem única. É importante notar, porém, que Tesla e SpaceX/Starlink, apesar de ambas serem lideradas por Elon Musk, operam de forma independente.

Como ainda está em fase de patente, não há garantia de que o conceito chegará à produção. Se a Tesla implementar com sucesso o conceito, poderá reforçar a reputação da marca como pioneira tecnológica, juntamente com inovações como a célula de bateria 4680. A execução, no entanto, será fundamental, uma vez que a má integração de novos materiais e métodos de construção poderá resultar em problemas de qualidade de construção, uma área onde Tesla enfrentou críticas no passado.

Escritório de Patentes e Marcas Registradas dos Estados Unidos

Veja as 9 imagens desta galeria no
artigo original

Source link

Deixe um Comentário

O seu endereço de e-mail não será publicado. Campos obrigatórios são marcados com *