Home / Auto e Moto / Futuros jipes e carneiros podem ser projetados para conter incêndios em baterias de veículos elétricos

Futuros jipes e carneiros podem ser projetados para conter incêndios em baterias de veículos elétricos

As chances de incêndios em veículos elétricos são baixas, mas não zero

Estatisticamente, Incêndios em veículos elétricos são uma ocorrência rara em comparação com incêndios em veículos híbridos e ICE. Claro, eles são relatados com mais frequência, e é compreensível. No entanto, é difícil negar as estatísticas e sempre haverá o perigo de incêndio, independentemente da propulsão.

Mas o que diferencia os disparos de EV é a composição da bateria. A maioria usa células de íons de lítio que, quando expostas a chamas ou danificadas, explodem. Apagar os referidos incêndios é um desafio diferente para os socorristaspois também precisam lidar com um fenômeno chamado fuga térmica. Para simplificar, é uma reação em cadeia que os torna mais difíceis de serem lançados.

MediaNews Group/Los Angeles Daily News via Getty Images/Getty Images

Soluções, alguém?

As montadoras estão fazendo o que podem para evitar que incêndios em veículos elétricos aconteçam. Ao mesmo tempo, os bombeiros já possuem protocolos para extingui-los. O que não temos agora é suprimir o fogo antes que piore. É verdade que os carros movidos a ICE realmente não os possuem, mas dada a volatilidade dos incêndios térmicos, é algo bom de se ter.

Na China, uma solução proposta foi ejete a bateria em chamas do veículo. Já podemos ver você levantando as sobrancelhas, coçando a cabeça ou rindo. Atirar um projétil em chamas na calçada não vai acabar bem para ninguém.

Enquanto isso, a Stellantis pode ter uma solução que funcione para todos. A empresa obteve recentemente sua patente (Pub. Nº: EUA 2025/0372750) para um supressor de incêndio integrado para veículos elétricos e híbridos. Certamente soa melhor do que disparar uma bateria em chamas contra pedestres e usuários da estrada desavisados.

Sistema supressor de incêndio integrado

Os supressores de incêndio a bordo não são novidade nos carros. Já foi uma opção para o Ford Crown Vitóriaespecificamente o Interceptador de Polícia. Como os veículos da polícia são vulneráveis ​​a colisões traseiras, valeu a pena acrescentar algo. Com os incêndios de veículos elétricos sendo uma preocupação, é um bom momento para revisitá-los.

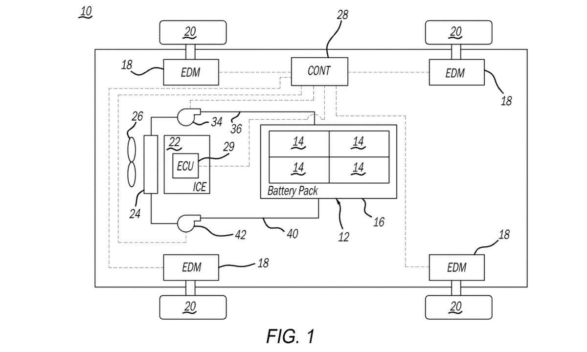
A solução da Stellantis é um pouco mais extrema em comparação com a instalada no bom e velho Crown Vic. O sistema supressor de incêndio proposto tem que lidar com uma chama mais intensa e evitar que a fuga térmica aconteça em primeiro lugar. Então, quais são os componentes principais?

Você

Como funciona

Há uma bexiga cheia de produtos químicos retardadores de fogo, junto com duas lâminas para perfurá-la e canalizar o supressor para linhas de resfriamento específicas, além de uma série de atuadores e sensores. Todo o sistema monitora constantemente as temperaturas operacionais e canalizará mais líquido refrigerante quando determinados parâmetros forem excedidos. A espuma só será ativada quando o risco de fuga térmica for alto.

Em teoria, parece uma solução viável. Colocá-lo em aplicação prática será uma questão totalmente diferente. Como acontece com todas as coisas, é mais fácil falar do que fazer. Mas se a Stellantis puder embalá-lo de uma forma que não adicione mais peso ou os force a usar uma bateria menor, então isso tem todo o potencial para ser uma vitória para os consumidores. Achamos que os bombeiros também irão gostar.

Você

Veja as 2 imagens desta galeria no
artigo original

Source link

Deixe um Comentário

O seu endereço de e-mail não será publicado. Campos obrigatórios são marcados com *